38 john deere lx279 belt diagram
If you own your John Deere LX 279 lawn mower long enough, eventually you will need to replace the drive belt that connects the drive pulley to the mower deck. The drive belt's only function is to use power transferred from the motor's drive pulley to the blades mounted under the mower deck. John Deere LX279 tractor overview. References: Lawn and Garden Product Information Handbook published in 2000, by John Deere
There are a number of places to find genuine John Deere parts and aftermarket John Deere parts, depending on your budget and specific needs. The John Deere website, official John Deere sellers and online auction sites are three of the place...
John deere lx279 belt diagram
Click the part number below to view and order John Deere LX279 Lawn Tractor Parts 42M Mower Deck, or search illustrated diagrams to determine the part you ... Trying to mower drive belt on my john deere lx277 ja: I need a diagram to replace a john deere lx 277 deck belt. If you own your john deere lx 279 lawn mower long enough, eventually you will need to replace the drive belt that connects the drive pulley to the mower deck. 6pm score deals on fashion brands. American quality you can trust. Taryl's 2016 October of Terror continues with the 2nd Installment, "Dacula" (loosely based off Dracula), followed by how to replace that John Deere LT160 dri...
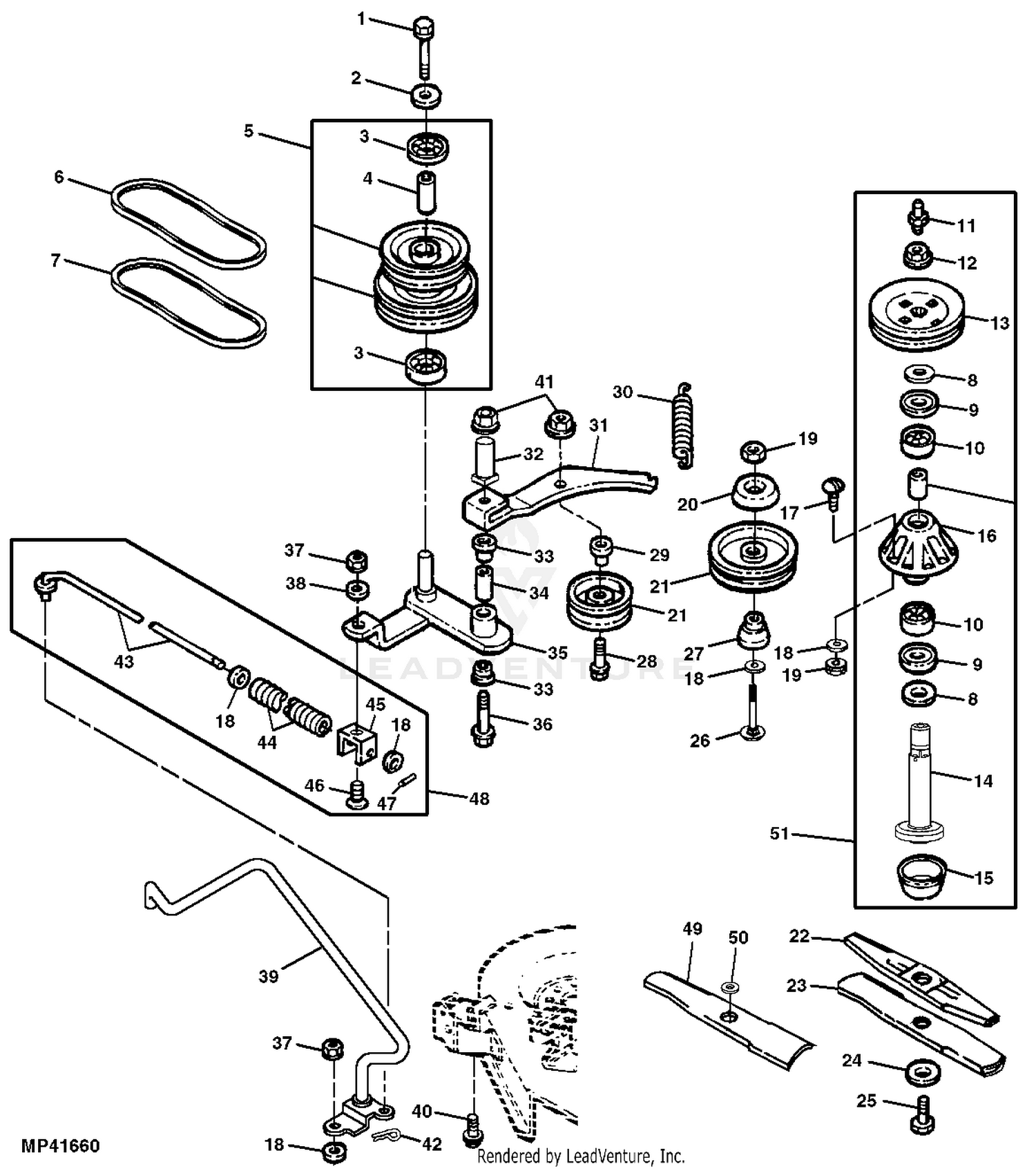
John deere lx279 belt diagram. John Deere Mower Decks & MCS (LX255,LX266,LX277,LX279,LX288,GT225,GT235,GT235E,GT245,LT170) -PC2725 Jacksheave,Idlers & Belt,48C: Two Bag Power Flow Material ... 33 John Deere Mower Deck Parts Diagram - Wiring Diagram List. John Deere 42C double stack pulley LX255 LX266 LX277 LX279 GT225 GT235 ... John Deere Mulching Blade Kit For 42C Mowers - AM141033. 17.542HS - SABRE Mower Drive Belt, Sheaves, Spindles and Blades EPC ... The John Deere LX279 lawnmower is the upgraded version of the John Deere LX277 lawnmower, although, it's not quite as big as the John Deere LX288.The JD LX279 enjoyed a production run that lasted 4 years from 1999 when it first started rolling off the production line in Horicon, Wisconsin until manufacture of this model ceased in 2003. We have video’s to help you replace your John Deere LX280 Lawn Tractor Parts 42 Mower Deck including: a spark plug, a blade, an air filter, an oil filter, a belts, a battery, lubricate drive system, lubricated cables, and more. « John Deere LX279 Lawn Tractor Parts 48C Mower DeckJohn Deere ...
How to Put a Drive Belt on a John Deere LX 279 Lawn Mower. If you own your John Deere LX 279 lawn mower long enough, eventually you will need to replace the ... John Deere LX279 (Secondary belt 42C Deck) Riding Lawn Mower Replacement Belt Original Equipment Manufacturer John Deere OEM Part Number M43820 Machine Riding Lawn Mower Model LX279 (Secondary belt 42C Deck) Belt Type 4LK/AK Kevlar VBG Replacement Id APPL679452 Technical Specifications: (Inches) ... Make sure the belt has been removed from the upper pulley. Take a 3-Legged puller & attach around the clutch. ... LX279 w / Kawasaki 17 HP Engine JOHN DEERE+Tractors (Including Lawn & Garden) RX95 ... John Deere Parts Diagrams, John Deere LX277 Lawn Tractor (Two Wheel Steer) Without Mower Deck -PC2718 ... BATTERY CABLES & BATTERY: ELECTRICAL. BELT DRIVE & IDLERS 2WS: POWER TRAIN AM123276,AM123275. BELT DRIVE & IDLERS AWS: POWER TRAIN AM123276,AM123275. BRAKE PEDAL & LINKAGE: STEERING AND BRAKES ... ENGINE LX279 MM13660. Rear Axle & Tie Rod ...
John Deere Lawn & Garden Belt Routing Guide All Images Belong to John Deere Document Created By: jd2007 MyTractorForum.com X700, X720, X724, X728, X729 * These machines are shaft driven therefore they have no traction drive belt. 48" Deck *54" Convertible Deck, 62" Convertible Deck, & 60" Drive-Over Belts Are Routed The Same John Deere AG, Lawn & Garden and CWP Equipment Parts Search. John Deere parts lookup tool and diagram is an incredible online source. It is a complete catalog that shows you detailed parts diagrams of every part of your machine. This online parts catalog is robust and easy to use. Searching for your John Deere parts online has never been easier. 17. apr. 2019 ... Looked in the Owner's Manual, and online, and I can't find the instructions for replacing the traction/drive belt (NOT the deck belts) on a ... The John Deere LX279 is a lawn and garden tractor from the John Deere LX200-series. The John Deere LX279 garden tractor was produced at the John Deere Horicon Works plant (Horicon, Wisconsin, USA) from 1999 to 2003. The John Deere LX279 lawn tractor used a V-twin 90° liquid-cooled 4-stroke internal combustion Kawasaki FD501V (437 cc, 26.67 cu-in) gasoline engine with vertical PTO-shaft The ...
Some of the parts available for your John Deere LX279 include Electrical & Gauges, Hay Tool, Lawn and Garden and Specialty Belts, Seats | Cab Interiors, Sunbelt - Belts, Sunbelt - Blades, Sunbelt - Equipment.
Download Free John Deere 48c Mower Deck Belt Diagram John Deere 48c Mower Deck Belt Diagram Thank you totally much for downloading john deere 48c mower deck belt diagram.Most likely you have knowledge that, people have see numerous times for their favorite books as soon as this john deere 48c mower deck belt diagram, but end stirring in harmful downloads.
John deere lx277 owners manual pdf. The john deere 48 mower deck belt pattern diagram can be obtained from most john deere dealerships. John deere original equipment model lx277 maintenance kit + standard blades, 48c mower deck. Made to exceed oem requirements and longevity. Lx266, lx277, lx279, lx288 lawn mower, john deere.
Stens 265242 OEM REPLACEMENT BELT. Part#: 265242 Replaces John Deere M143019 M118684. o Stars 0. There are no reviews at this time. $26.49. Qty: Spin Up Spin Down Add to Cart. Please enter numbers only for Qty. {1} ##LOC [OK]##.
Service Schedule Parts for a John Deere LX279 Lawn Tractor & Parts List. While your John Deere machine is certainly built with quality parts, they have a limited life. Good news is you can easily service your machine yourself using a John Deere maintenance kit or service kits or by getting the specific John Deere part needed to keep your John Deere mower or tractor running for a long time.
File Type PDF John Deere 48c Mower Deck Belt Diagram John Deere 48c Mower Deck Belt Diagram Thank you entirely much for downloading john deere 48c mower deck belt diagram.Maybe you have knowledge that, people have look numerous period for their favorite books once this john deere 48c mower deck belt diagram, but stop stirring in harmful downloads.
24. jun. 2014 ... John Deere Lawn & Garden Belt Routing Guide.pdf. 5.5 MB Views: 1,855. Without ice cream, there will be darkness and chaos!
OEM replacement belt, belt application drive, belt type raw edge, length 87-1/2 in., width 1/2 in., packaging type branded sleeve Replaces OEM number: John Deere M127521, M146667 Fits: John Deere LX255, LX266, LX277, LX279 and LX288
LX255, LX277, LX279 and LX288 with 38" Deck; 1/2"x84": Belts - ✓ FREE DELIVERY possible on eligible purchases,Buy Tadamark Replacement Drive Belt for John Deere M47765,New Fashions Have Landed,Affordable shipping,Big Labels Small Prices,The best prices, free shipping and no sales tax.
John Deere LX279 (Deck 48" Primary) Riding Lawn Mower Replacement Belt Original Equipment Manufacturer John Deere OEM Part Number GY20572 Machine Riding Lawn Mower Model LX279 (Deck 48" Primary) Belt Type A/4L Classic FHP VBG Replacement Id APPL691604 Technical Specifications: (Inches) (mm) Outside Circumference 65.00 1651.00 Top Width 0.50 12.70

STENS OEM Replacement Belt for John Deere LX255, LX277, LX279, LX288, LX277AWS, LX280 and LX289 w/ 42C, 48 in. and 52 in. deck 265-242 - The Home ...
LX models use belt part number M146667 which is 87.64" long, 0.5" wide, HA section 0.31 thick 32 deg. PREM GT models use belt part number M127523 which is 89.8" long, 0.66" wide, HB section 0.41 thick 32 deg. PREM. Similar Models: John Deere LX255, LX277, LX279, LX288, GT225, GT235, GT245, GT255
John Deere dealers and all those who use John Deere equipment need a copy the corresponding equipment’s manual. There are separate manuals for each kind of equipment and this includes operating and safety equipment, besides maintenance and ...
This item: NEW Replacement Drive Belt for John Deere LX277 LX279 LX280 LX289 M110367 M147044 1/2" X 89.5" $26.42. Only 8 left in stock - order soon. Ships from and sold by M&A Srt. FREE Shipping. John Deere Original Equipment Filter Kit #LG195. $50.07. In Stock. Ships from and sold by SNPartners.
These John Deere Lawn Tractor Parts may include: Tune Up Kit, Spark Plug, Mower Blades, Traction Drive Belt, Transmission Belt, Mower Drive Belt, Battery, and Air Filters. If you need help finding John Deere Lawn Tractor Parts Search Using Weingartz Illustrated Diagrams to view an illustrated diagram or call us at 1-855-669-7278.

SureFit Secondary Deck Drive Belt 66" Replaces John Deere M82462 160 335 GT262 GT275 GT245 LX255 LX277 LX279 LX288
JOHN DEERE WORLDWIDE COMMERCIAL & CONSUMER EQUIPMENT DIVISION 1754 January 2003 Lawn Tractors LX255, LX266, LX277, LX277AWS, LX279 and LX288 TECHNICAL MANUAL North American Version Litho in U.S.A. www.servicemanualall.com Buy, Download, Print... www.servicemanualall.com
21. aug. 2010 ... It doesn't look like a spring is attached in the video. try this link-it will take you to the owners manual and a picture of the belt routing.
Discuss John Deere Lawn & Garden tractors and equipment in this forum.
If you’re in the market for a new John Deere tractor or are looking to sell one that you have on your farm, you’ll want the most relevant pricing information that you can find. Read on to learn more about how to value a John Deere tractor o...
Diagrams » Parts Diagrams » ... JOHN DEERE: LX255, LX277, LX279 and LX288 with 38" decks: Replaces OEM. John Deere: ... Ask us about the Stens 265639 OEM REPLACEMENT BELT. Please no repair questions. Your Q&A may be posted to Jackssmallengines.com to help other shoppers, like you, with their purchasing decisions. ...
5": Special Drive - ✓ FREE DELIVERY possible on eligible purchases,Buy NEW Replacement Drive Belt for John Deere LX277 LX279 LX280 LX289 M110367 M147044 1/2" X 89.
A detailed, step by step, tutorial video showing exactly how to remove the mower deck on a John Deere Tractor (garden tractor) Mower. IF THIS VIDEO SAVED ...
Model LX279. The 13-digit product identification number (serial number) (A) is located on the right-hand side frame, just below engine compartment. Click here for 42C Mower Deck Parts for LX279. Click here for 42M Mower Deck Parts for LX279. Click here for 48C Mower Deck Parts for LX279.
About Press Copyright Contact us Creators Advertise Developers Terms Privacy Policy & Safety How YouTube works Test new features Press Copyright Contact us Creators ...
John Deere LX255, LX266, LX277, LX277AWS, LX279, LX288 Lawn Tractors Technical Manual (TM1754) John Deere GT225, GT235, GT235E, GT245 Garden Tractors Technical Manual (TM1756) John Deere 2500, 2500A, 2500E Professional Greens Mower Technical Manual (TM1757)
The John Deere LX279 was produced from 1999 to 2003. It came equipped with a hydrostatic drive transmission, 42" or 48" Mower Deck and 17hp Kawasaki Engine. Regular Maintenance should be performed on the LX279 every 50 hours and should include Spark Plug, Air Filter, Oil Filter with 1.9qts oil and sharpen or replace mower blades.
Acces PDF John Deere 48c Mower Deck Belt Diagram ... John Deere 345 48c 48 Inch Mower Deck Lx255 Lx266 Lx277 Lx279. John Deere Lx277 Mower Deck Manual. Belt Diagram Lt277 Wiring. John Deere 42c Mower Deck Lx225 Lx255 Lx277 Lx279 Lx289 Lx280. John Deere Lx277 Lawn Tractor Le Tractors 2 K Bid. John Deere Lx277 Lawn Tractor Maintenance Guide Parts ...
Original Factory John Deere LX255, LX266, LX277, LX277AWS, LX279, LX288 Lawn Tractors Manual is a Complete Informational Book. It will come up with the whole thing you want to do the job. Save money and time via way of means of DO-IT-YOURSELF!
Download. This Original Factory Manual Includes Detailed Service Repair Information for the John Deere LX255, LX266, LX277, LX277AWS, LX279, LX288 Lawn Tractors. It consists of steerage on restore, operation and diagnostics, unique commands for restore and maintenance, commands for set up and adjustment, meeting and disassembly commands, little ...
Repair and Service Manual - https://therepairmanual.com/shop/john-deere/john-deere-lx255-lx266-lx277-lx277aws-lx279-lx288-technical-manual-tm-1754/
TerraGrip Traction Belts; John Deere Tire Chains; Parts for Other Brands; John Deere Home and Workshop Products; Original Tractor Cab; John Deere Farm Equipment Parts; John Deere Farm Parts; ... Click here for 48C Mower Deck Parts for LX279; Click here for 48C Mower Deck Parts for LX279. Products [41] Sort by: ...
11. okt. 2009 ... John deere lx279 lawn mower - how do you replace the drive belt from the motor to the transmission. My manual does not have a diagram on how ...
John Deere Parts Diagrams, John Deere LX277 and LX279 Lawn Tractors. ELECTRICAL. ENGINE (LX277) AM131436. ENGINE (LX279) MM13660. FUEL AND AIR. LABELS. Power Train. POWER TRAIN AM123276, AM123275.
Official John Deere site to buy or download Ag & Turf operator’s manuals, parts catalogs, and technical manuals to service equipment. The site also offers free downloads of operator’s manuals and installation instructions and to purchase educational curriculum.
Taryl's 2016 October of Terror continues with the 2nd Installment, "Dacula" (loosely based off Dracula), followed by how to replace that John Deere LT160 dri...
Trying to mower drive belt on my john deere lx277 ja: I need a diagram to replace a john deere lx 277 deck belt. If you own your john deere lx 279 lawn mower long enough, eventually you will need to replace the drive belt that connects the drive pulley to the mower deck. 6pm score deals on fashion brands. American quality you can trust.
Click the part number below to view and order John Deere LX279 Lawn Tractor Parts 42M Mower Deck, or search illustrated diagrams to determine the part you ...
0 Response to "38 john deere lx279 belt diagram"
Post a Comment