Iklan 300x250

37 john deere 345 carburetor diagram

Full membership to the IDM is for researchers who are fully committed to conducting their research in the IDM, preferably accommodated in the IDM complex, for 5-year terms, which are renewable. Issue 6.1 (March 2004) Thematic Issue: Shakespeare on Film in Asia and Hollywood. Ed. Charles S. Ross

Kohler repair parts and parts diagrams for Kohler CH20-64700 - Kohler Command PRO Twin Engine, Made for Kubota, 20hp, 14.9kW In this video I show how to rebuild a carb off a K series kohler engine. I am an amazon affiliate , Shopping through my link doesn't cost you a thing, but I ...

John deere 345 carburetor diagram

John deere 345 carburetor diagram

Click here for model 44M mower deck parts for GX345. Click here for model 48C mower deck parts for GX345. Click here for model 54C mower deck parts for GX345. Click here for 42-inch Snow Thrower Parts for GX345. Click here for 48-inch Front Blade Parts for GX345. Click here for 30-inch Mechanical Drive Tiller Parts for GX345. Affiliate membership is for researchers based at UCT, elsewhere than in the IDM complex, who seek supplementary membership of the IDM because their research interests align with the general focus and current activity areas of the IDM, for 3-year terms, which are renewable. Tag - john deere 345 kawasaki carburetor diagram. Riding Lawn Mowers John Deere 335 20HP 54 inch deck Riding Lawn Mower for... Featured Posts

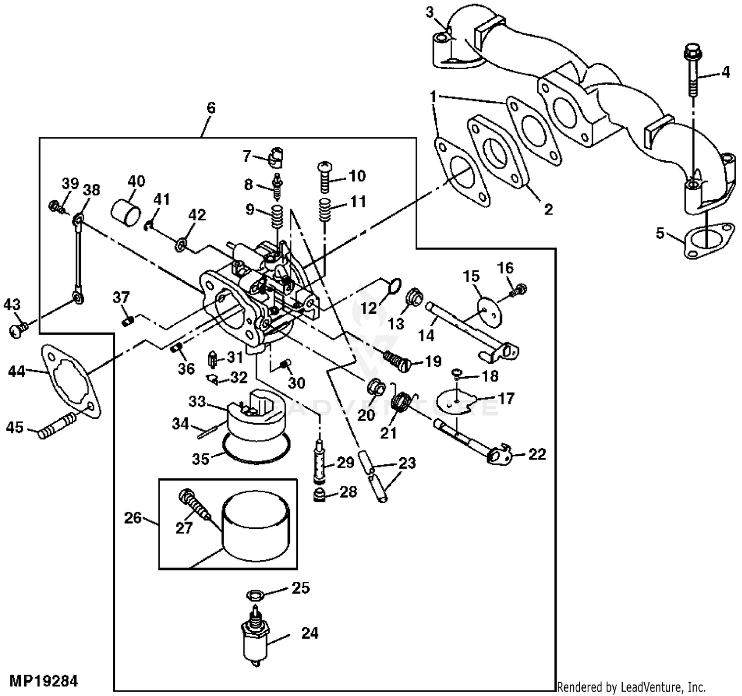
John deere 345 carburetor diagram. Many people often ask about the correct settings on a John Deere one-barrel and two-barrel carburetor. The tips given here assume the carburetor has been professionally cleaned and reconditioned, the float setting is within specifications, and the gasoline is fresh. Also, the cylinders have good compression, and the ignition system is in good working order.… Sunshade Fits John Deere 325, 335, 345, 355D, GX300 Series Lawn Tractors. (1) $200.85. Add To Cart. Quick View. Hard Top Cab Enclosure Fits John Deere 325 335 345 355 GX300 Series Tractors. (5) $1,230.85. Add To Cart. If your John Deere tractor with a Kawasaki twin liquid cooled engine is leaking gasoline near the front of the motor this might be the problem. John Deere 345 Parts. The John Deere 345 Garden Tractor was produced from 1995 to 2001 offering 44", 48" and 54" mower deck options. It came equipped with Power Steering, hydrostatic drive transmission and 18hp Kawasaki Engine (switching to 20hp Kawasaki with SN 070000 and newer) as standard features.

Description: John Deere 345 Wiring Diagram John Deere 345 Wiring Diagram within John Deere 345 Parts Diagram, image size 445 X 450 px, and to view image details please click the image.. Here is a picture gallery about john deere 345 parts diagram complete with the description of the image, please find the image you need. John Deere manufactures a wide range of mowers that feature Briggs & Stratton engines and attached "carbs," or carburetors. The John Deere mower's carburetor may need to be cleaned out, or the air intake may need to be adjusted via the air adjustment needle valve or the fuel tank cap's vent hole. Know your John Deere Model Number - Search Diagrams. Don't know your John Deere Model or Part Number - Search By Length, Width, Dimensions, and Style. ... ATTACHMENT, MOWER DECK AND POWER FLOW BLOWER ASSEMBLY (325, 335, 345, 355D LAWN TRACTORS) ATTACHMENT, MOWER DECKS (F620, F680, F687 ZTRAK FRONT MOWERS) ... The John Deere 345 is a 2WD lawn and garden tractor from the 300 series of the John Deere lawn tractors. The John Deere 345 garden tractor was manufactured in Horicon, Wisconsin, USA from 1995 to 2001. The Kawasaki FD590V V-twin 90° liquid-cooled 4-stroke (585 cc, 35.7 cu-in) vertical engine was used through the 1998 model year, serial number 070000.

Carburetor Charger Controller A full line of Genie carburetors for the gasoline powered machines equipped with Ford and Kubota engines. Carburetors, carb repair kits and carb gaskets for the DF-750, DF-750, LRG-423 and more. Chargers are in integral part to electric and battery powered vertical lifts, scissor lifts and boom lifts. Offering genuine battery chargers to keep your … John Deere AG, Lawn & Garden and CWP Equipment Parts Search. John Deere parts lookup tool and diagram is an incredible online source. It is a complete catalog that shows you detailed parts diagrams of every part of your machine. This online parts catalog is robust and easy to use. Searching for your John Deere parts online has never been easier. powrguy. I've got a problem with the FD611V on my JD 345 (1999 vintage, 1100 hrs., NOT plastic-cam in it). It appears to me that it's running lean at high speed and won't run without partial choke, other than at idle. I'm thinking it's the high speed jet being the issue, because it's smooth running at idle, starts with the choke full on, but if ... Carbpro Carburetor for John Deere Carb Kawasaki 345 FD590V AM122617 with Gaskets . 4.2 out of 5 stars 19 ratings. $28.99 $ 28. 99 & FREE Returns . Return this item for free. Free returns are available for the shipping address you chose. You can return the item for any reason in new and unused condition: no shipping charges ;

John Deere 345 Mower Deck Parts Diagram - Wiring Site Resource

John Deere 345 Mower Deck Parts Diagram - Wiring Site Resource

FD590v Parts January 9, 2021. Carburetor Carb AM122617 w/Gasket for John Deere 345 w/Engine Marked FD590V Product Description & Features: Features: 100% brand new and high quality 345 with engines…. Parts. Kawasaki 12044-2242 Lawn & Garden Equipment Engine Camshaft Genuine Original Equipment Manufacturer (OEM) Part. FD590v Parts December 25 ...

Pin on wiring diagram

Pin on wiring diagram

John Deere Model 345 Lawn and Garden Tractor Parts - Location of the Product Identification number (serial number) ... John Deere Carburetor Gasket - M149305 (0) $1.65. Usually available. Add to Cart. Quick View. John Deere Complete High-Back Seat Assembly - AM131531 - See product detail for serial number range

John Deere GX345 Lawn & Garden Tractor With 48-IN Convertible ...

John Deere GX345 Lawn & Garden Tractor With 48-IN Convertible ...

i have a john deere 345 i am looking for the wiring diagram for the safety swiches. the motor starts run good - dies when you come off the brake also what is the wire that goes to the fuel bowl (kaw. FD611V-BS01) can the bolt be replaced with one that does not need that circuit?

John Deere 345 Mower Deck Parts Diagram - Wiring Site Resource

John Deere 345 Mower Deck Parts Diagram - Wiring Site Resource

My GX345 has had engine surging since it was new, this 20 minute easy fix took care of the problem.

John Deere Parts Diagrams, John Deere 325, 335 & 345 GARDEN ...

John Deere Parts Diagrams, John Deere 325, 335 & 345 GARDEN ...

Tiller. Tool Carrier. Tractor (Model Number: 1010 thru 5820) Tractor (Model Number: 6000 thru 9630) Tractor (Model Number: A thru WA17) Turf Mower. Utility Vehicle. Wheel Harvester. Windrower.

John Deere 345 Mikuni Carb Leak From Vent | My Tractor Forum

John Deere 345 Mikuni Carb Leak From Vent | My Tractor Forum

SThe Subaru EJ201 and EJ202 were 2.0-litre horizontally-opposed (or ‘boxer’) four-cylinder petrol engines. Replacing the EJ20 Phase I engine, the EJ201 and EJ202 were members of Subaru’s EJ Phase II engine family which introduced newly designed cylinder heads with ‘tumble swirl’ intake ports.

Fuel Shut off solenoid for John Deere GX325 GX345 with carburetor #  15003-2801 | eBay

Fuel Shut off solenoid for John Deere GX325 GX345 with carburetor # 15003-2801 | eBay

WG-8 Walbro OEM Carburetor OEM WALBRO CARBURETOR WG-8 FITS FOLLOWING ENGINES Thor 100 C.C. 110, HP 20,5, RPM 8900 Snap Ego CC 96, HP 17,5…

John Deere 345 engine surging fix.

John Deere 345 engine surging fix.

Lawn and Garden Product Information Handbook published in 2001, by John Deere: John Deere Lawn and Garden Tractors published in 1995: Lawn and Garden Tractors published in 1998, by John Deere: Lawn and Garden Tractors published in 2000, by John Deere: Lawn & Grounds Care Sales Manual published in 1997, by John Deere

John Deere Parts Diagrams, John Deere 325, 335 & 345 GARDEN ...

John Deere Parts Diagrams, John Deere 325, 335 & 345 GARDEN ...

Compatible with Carburetor AM122617 for John Deere 345 with Engine Marked FD590V Product Description & Features: Free Shipping To USA. 100% Brand New. Highest Quality… Parts. Carburetor AM122617 Fit for John Deere 345 with Engine Marked FD590V. FD590v Parts January 12, 2021.

John Deere 345 Lawn & Garden Tractors With 44-IN Mower Deck ...

John Deere 345 Lawn & Garden Tractors With 44-IN Mower Deck ...

John Deere 325, 335, 345 Lawn & Garden Tractors Technical Manual (TM1760) John Deere Mowers series 54D, 60D, 62D, 72D OnRamp and AutoConnect; 261, 272 Read-Mounted and others Attachment Technical Manual (TM1763) John Deere E-Gator Utility Vehicle Technical Manual (TM1766) John Deere LTR155, LTR166, LTR180 Lawn Tractors Technical Manual (TM1768)

John Deere 345 Lawn & Garden Tractors Without Mower Deck ...

John Deere 345 Lawn & Garden Tractors Without Mower Deck ...

John Deere Parts Diagrams, John Deere 345 Lawn & Garden Tractors Without Mower Deck -PC2428. Air Filter & Mounting Parts 325 FC540V: FUEL AND AIR. Air Filter 325 FH531V: FUEL & AIR. Air Filter 335: FUEL & AIR. Air Filter 345: FUEL & AIR.

Why my John Deere l120 mower did not start

Why my John Deere l120 mower did not start

John Deere . Fuel hose diagrams for JD345 ... Greetings: I'm working on a JD 345 riding mower and having some problems with re-attaching the fuel hoses to pump/carb. It has a Kawasaki FD611V engine. ... the fuel pump diagram shows where the pump to carb hose is located (which means the other hose nipple would be attached to fuel line from tank ...

AM109205 Carburetor for John Deere GT242 GT262 GT275 Kawasaki LX170 LX172  LX175 LX176 LX240 F510 32124 by TOPEMAI

AM109205 Carburetor for John Deere GT242 GT262 GT275 Kawasaki LX170 LX172 LX175 LX176 LX240 F510 32124 by TOPEMAI

John Deere 345 Lawn Tractor Parts 54 Mower Deck. NEED HELP FINDING PARTS? CALL US AT (855) 669-7278. John Deere 345 Lawn Tractor Parts for 38 Mower Deck Quick Reference Guide. Click the part number below to view and order John Deere 345 Lawn Tractor Parts for 38 Mower Deck, or search illustrated diagrams to determine the part you need.

John Deere Parts Diagrams, John Deere GX345 Lawn & Garden ...

John Deere Parts Diagrams, John Deere GX345 Lawn & Garden ...

filter The Kawasaki FH580V-(G)S35-S is a 0. S35-S is a 0. 33 preview your part 19 hp kohler John deere 345 brake safety switch location. John deere 345 brake safety switch location. John deere 345 brake safety switch location Online Auctions On-Site Auctions. 60 postage Carb Fuel Shut off solenoid for John Deere 325 FH531V 345-FD611V 6X4 gator 777.

John Deere 345 Transmission Transaxle Tuff Torq Serial 016971 ...

John Deere 345 Transmission Transaxle Tuff Torq Serial 016971 ...

Subaru's EJ20G was a turbocharged, 2.0-litre horizontally-opposed (or 'boxer') four-cylinder petrol engine. For Australia, the EJ20G engine powered the GC/GM Impreza WRX from 1994 to 1996; key features of the EJ20G engine included its:

345 fuel pump R&R | My Tractor Forum

345 fuel pump R&R | My Tractor Forum

John Deere 345 Parts Diagrams. SWIPE SWIPE. Belts. Electrical Components. Filters. Hitch and Implement Components. Seats and other Components.

TractorData.com John Deere 345 tractor engine information

TractorData.com John Deere 345 tractor engine information

Click to get the latest Buzzing content. Sign up for your weekly dose of feel-good entertainment and movie content!

HOSE FUEL SELECTOR VALVE M809 / M939 SERIES - Midwest ...

HOSE FUEL SELECTOR VALVE M809 / M939 SERIES - Midwest ...

3 offers from $24.49. Partman Carburetor 345 FD590V Fit for John Deere Kawasaki Engine Fuel Part AM122617 Carb. 4.4 out of 5 stars. 16. 1 offer from $24.80. ALL-CARB Carburetor for John Deere 285 320 345 for Kawasaki FD590V Engine LawnMowerCarb AM122617. 4.0 out of 5 stars. 15. 2 offers from $18.59.

I have a deere 345 i am looking for the wiring diagram for ...

I have a deere 345 i am looking for the wiring diagram for ...

Click to get the latest Where Are They Now? content.

John Deere GX345 Lawn & Garden Tractor With 54-IN Convertible ...

John Deere GX345 Lawn & Garden Tractor With 54-IN Convertible ...

Download Ebook John Deere 345 Wiring Diagram Zama c1 carburetor diagram Genuine Genie starters will get you cranking. Genie starters for many types of engine brands such as John Deere, Deutz, Cummins, Kubota, Ford, and GM - just to name a few. Genie starters for scissor lifts, boom lifts, and telehandlers. John deere fuel solenoid problems

X475 carburetor parts kit | My Tractor Forum

X475 carburetor parts kit | My Tractor Forum

Tag - john deere 345 kawasaki carburetor diagram. Riding Lawn Mowers John Deere 335 20HP 54 inch deck Riding Lawn Mower for... Featured Posts

John Deere 325 335 345 Lawn & Garden Tractors TM1760 Service Manual PDF

John Deere 325 335 345 Lawn & Garden Tractors TM1760 Service Manual PDF

Affiliate membership is for researchers based at UCT, elsewhere than in the IDM complex, who seek supplementary membership of the IDM because their research interests align with the general focus and current activity areas of the IDM, for 3-year terms, which are renewable.

John Deere 345 Mower Deck Parts Diagram - Wiring Site Resource

John Deere 345 Mower Deck Parts Diagram - Wiring Site Resource

Click here for model 44M mower deck parts for GX345. Click here for model 48C mower deck parts for GX345. Click here for model 54C mower deck parts for GX345. Click here for 42-inch Snow Thrower Parts for GX345. Click here for 48-inch Front Blade Parts for GX345. Click here for 30-inch Mechanical Drive Tiller Parts for GX345.

Need some help with an X520 carb | My Tractor Forum

Need some help with an X520 carb | My Tractor Forum

John Deere carbuetor installation

John Deere carbuetor installation

X350 Owner Information | Parts & Service | John Deere US

X350 Owner Information | Parts & Service | John Deere US

John Deere 325, 335 and 345 Lawn and Garden Tractors - The ...

John Deere 325, 335 and 345 Lawn and Garden Tractors - The ...

John Deere X540 Engine Manuals - generousthat

John Deere X540 Engine Manuals - generousthat

John Deere 345 Lawn & Garden Tractors With 44-IN Mower Deck ...

John Deere 345 Lawn & Garden Tractors With 44-IN Mower Deck ...

How to replace the fuel pump on a deere 345 garden tractor?

How to replace the fuel pump on a deere 345 garden tractor?

x304 surging idle *FIXED* | Green Tractor Talk

x304 surging idle *FIXED* | Green Tractor Talk

John Deere GX345 Lawn & Garden Tractor Power Flow Blower ...

John Deere GX345 Lawn & Garden Tractor Power Flow Blower ...

Hustler Turf 60in XR-7 SUPER Z KOHLER (30HP) SUSPENSION SEAT ...

Hustler Turf 60in XR-7 SUPER Z KOHLER (30HP) SUSPENSION SEAT ...

345 FD611V or FD590V. What do I have? | My Tractor Forum

345 FD611V or FD590V. What do I have? | My Tractor Forum

John Deere Parts Diagrams, John Deere 325, 335 & 345 GARDEN ...

John Deere Parts Diagrams, John Deere 325, 335 & 345 GARDEN ...

Kawasaki FD590V-ES08 4 Stroke Engine FD590V Parts Diagram for ...

Kawasaki FD590V-ES08 4 Stroke Engine FD590V Parts Diagram for ...

I have a 2005 Deere buck 500 with a bombardier engine. It ...

I have a 2005 Deere buck 500 with a bombardier engine. It ...

0 Response to "37 john deere 345 carburetor diagram"

Post a Comment

Iklan Atas Artikel

Iklan Tengah Artikel 1

Iklan Tengah Artikel 2

Iklan Bawah Artikel