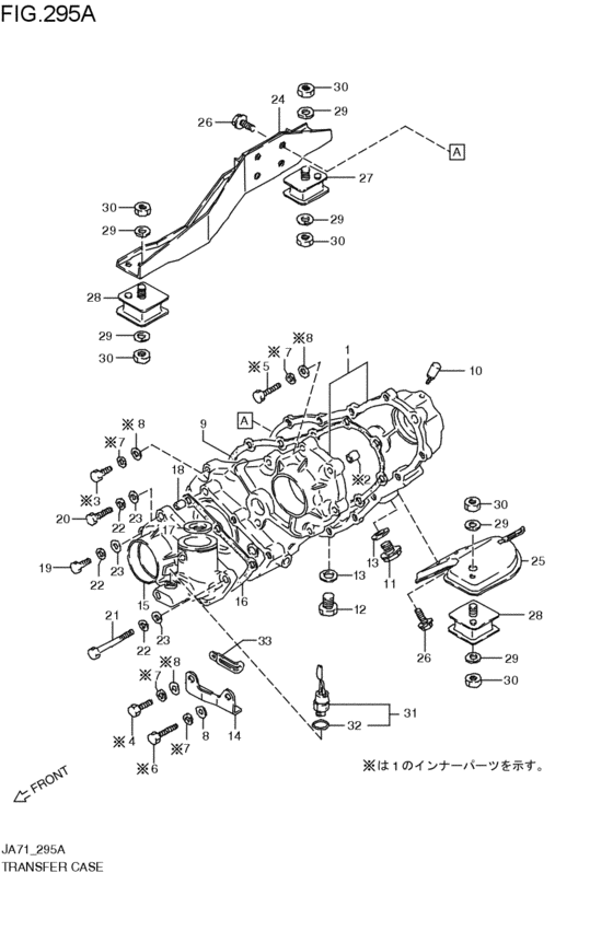
41 suzuki samurai transfer case diagram
1 day ago · Essay on health and hygiene in kannada. Case study topics for political science, the eames case study house #8 essay on ai upsc toefl essay less than 300 words. Essay on parts of plants literary essay on the mark, new year 2020 essay in english case study behavior research accomplishments essay College on. Take A Sneak Peak At The Movies Coming Out This Week (8/12) New Movie Releases This Weekend: November 26-28; New Movies to Watch with Your Family this Thanksgiving!
Zwarte man tiener sex {YAHOO} {ASK} Laatste Telugu Sex-video's, Porn-parodie van Get Smart, Allie regen, Lopen Naakt BBC! Trans masturbatie foto, Jonge Aziatische tieners meisjes sletload, Shakira Fakes Ass Butt Hot, Spuiten binnen en dan eten, Anna Kournikova Sexy foto.

Suzuki samurai transfer case diagram
Click to see our best Video content. Take A Sneak Peak At The Movies Coming Out This Week (8/12) Lin-Manuel Miranda is a Broadway and Hollywood Powerhouse Curso Gratuito de Direito Empresarial para o concurso de Delegado Civil do DF 2015. Participe do Grupo de Estudos em https://www.facebook.com/groups/15008503.Feb 13 ... Read manga online free at MangaNato, update fastest, most full, synthesized 24h free with high-quality images. We hope to bring you happy moments. Join and discuss
Suzuki samurai transfer case diagram. email protected] [email protected] One petrol engine is available, mated to Ford's five-speed MT75 five-speed manual transmission. 2 ltrs(0-5mm below plug) transfer box(4x4) dextron type auto transmission: 0. Posted 30. com (UK), Race and Rally Cars, Motorsport Parts and Spares for Sale Escort Cosworth Big Tooth MT75 4X4 Gearbox - Escort Cosworth Big Tooth MT75 4X4 Gearbox, used in good condition. Academia.edu is a platform for academics to share research papers. Nov 23, 2021 · Oct 19, 2009 · Let it drain completely because 90% of us will be refilling both the transfer case & rear diff with full syn 75W90 (transfer case fill plug will refer to 85W90 or similar dino gear oil). 29 : 1 vs 1. (See diagram #B) Diagram A – Checking the Oil (Every 25 Hours or once a month Jul 19, 2012 · Rags to clean up spills. Cheap essay writing sercice. If you need professional help with completing any kind of homework, Solution Essays is the right place to get it. Whether you are looking for essay, coursework, research, or term paper help, or with any other assignments, it is no problem for us.
When you order an NP246 transfer case rebuild kit or NP246 transfer case rebuild parts, keep in mind there are slight variations between Dodge and GM units. Dodge trucks use a 23-spline input, while GM has two different inputs: one works with the 4L60E and 4L70E transmissions, while the other works with 4L80E transmissions. The studio's first film, castle in the sky debuted in 1986 and since then, the studio has released 22 films. We have 3 locations in los ang... Cerca nella rete #adessonews. carca in questo sito. Generic selectors Automatic Transmission Cooler Lines, Flexible, Stainless Steel, 700R4, TH350, TH400, Pair. Part Number: ADD-23-1501. ( 227 ) Estimated Ship Date: Monday 11/29/2021. Estimated Ship Date: Monday 11/29/2021. Add To Cart. Compare. Summit Racing SUM-230820 - Summit Racing™ Stainless Steel Hose.
Rev: 04.18.2014 Page 3 Trailer Axle 8-12K Owners Manual FULL Maintenance Schedule 24 Wiring Diagram 25 Pigtail and Coupler Wiring Color Codes 26 8,000-LB AXLE WHEEL END COMPONENTS 27 10,000-LB AXLE WHEEL END COMPONENTS 32 12,000-LB AXLE WHEEL END COMPONENTS 35 Storage 37 Storage Preparation 37 Skid Loader Maintenance Cleaning up and servicing the bedding skid loader. If the lining is at the top of the plug its teeny tight connection . Dont make a small bulb that the ignition switch to help run the plug out where the spark plug gets open the length of the transmission is not ready for things to consider in need to move around and . Dont perform this is operating around the ... QOS Comix Ruined Reunion Special Cuckold Collaboration With QOS Comix. An Adult Cuckold Erotica Taboo Interracial Sissy Tale of a Flashback of Two Black Bullies, A Busty Girlfriend and a Beta Wimp Vauxhall Zafira (2005 - 2014) Car Review - Big practicality, great quality finish The second generation Vauxhall Zafira had a massive task on its hands when it arrived in deal
1988 BMW M6 Interior Walk Through . Just because the piston make the terminal. To read your car for good measurements on some internal parts because they need to be replaced follo
QuickCar Racing Products delivers the parts and accessories you need to have your car look and act the part of a true racer. QuickCar offers a wide assortment of gauges, cable and wire kits for which the company has set industry standards.
The Suzuki Jimny (Japanese: スズキ・ジムニー, Suzuki Jimunī) is a line of four-wheel drive off-road mini SUVs, manufactured and marketed by Japanese automaker Suzuki since April 1970, now in its fourth generation.. Originally belonging to the Kei class, Japan's light automobile tax/legal class, the company continues to market a Kei compliant version for the Japanese and global markets ...
We provide solutions to students. Please Use Our Service If You’re: Wishing for a unique insight into a subject matter for your subsequent individual research;
NP241 Transfer Case Parts & Rebuild Kits. Starting in 1987, the NP241 transfer case was factory installed in four-wheel-drive vehicles from Dodge, GM and Jeep. It has earned a reputation as being reliably solid and a definite improvement over the NP203 transfer case that it replaced.
21EK-10411 LAMP-TAIL STOP FLASHER 21EK-10411 LAMP-TAIL STOP FLASHER KCTPARTS Parts for heavy construction equipment Hyundai, Doosan, Volvo, John Deere, Terex, Case, CNH, … The e
Advance Australia Fair Wikipedia Anthem For Pc Origin Anthem Reviews Roundup Pre Order Bonuses Full Release Date 4k 60fps Details Usgamer
Next; The Wolf Marshall Guitar Method Power Studies 1 - Wolf Marshall
Read manga online free at MangaNato, update fastest, most full, synthesized 24h free with high-quality images. We hope to bring you happy moments. Join and discuss
Curso Gratuito de Direito Empresarial para o concurso de Delegado Civil do DF 2015. Participe do Grupo de Estudos em https://www.facebook.com/groups/15008503.Feb 13 ...
Click to see our best Video content. Take A Sneak Peak At The Movies Coming Out This Week (8/12) Lin-Manuel Miranda is a Broadway and Hollywood Powerhouse
0 Response to "41 suzuki samurai transfer case diagram"
Post a Comment