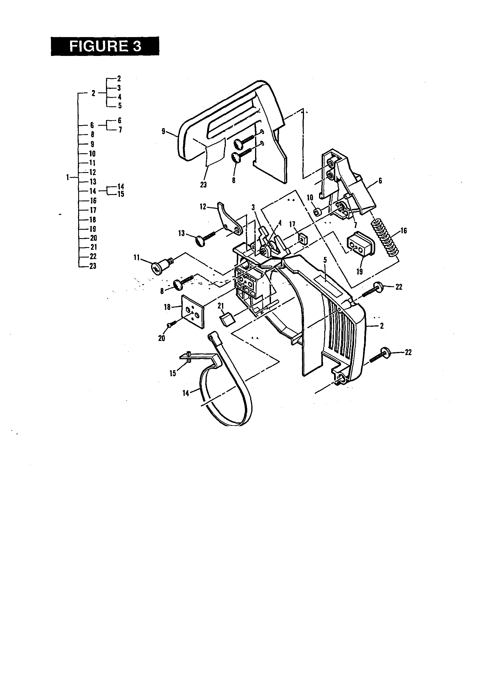
39 mcculloch 3200 chainsaw parts diagram
Question About McCulloch Chainsaw MAC 3200 McCulloch MAC 3200 Chainsaw Manual. Asked by Lin on 14 Answers. ManualsOnline posted an answer 12 years, 4 months ago. ... If you are looking for any new ideas for your parts diagram then this mcculloch fuel line diagram photo must be on the top of guide or you might use it for an optional thought. Mccullion Mini Mac 160s Chainsaw Manual Free; Mccullion Mini Mac 160s Chainsaw Manual Download; User manuals: - McCulloch CS 340 Chain Saw. 3200, 3216, 3210, 3214) Mini M. Mccullion Mini Mac 160s Chainsaw Manual - engdna item 9 McCulloch Mac 160S Chainsaw OEM - Kill Switch and Shroud 8 - McCulloch Mac 160S Chainsaw OEM - Kill Switch and Shroud. $14.99 +$8.00 shipping.
1 day ago · Posts: 5,218. Fuel hose diagram for mcculloch 3516 chainsaw Fixya. GASOLINE-POWERED CHAIN SAWS. All parts that fit a ts 400 disc cutter. Original high quality parts for mcculloch eager beaver 21 600132 03 chainsaw in stock and ready to ship today. This is an oem mcculloch chainsaw handle part number. DATE Replaces. 2. 2 days ago · Poulan 1800 SUPER Poulan Chainsaw POWER UNIT Parts.

Mcculloch 3200 chainsaw parts diagram
View and download the user manual for your McCulloch product. 3200 Mac Chainsaw Manual Free Parting out a McCulloch Mac 3200 Chainsaw. All parts are being sold as good usable parts unless otherwise noted. Should fit models 3200, 3516, 3214 saws. - McCulloch ElectraMac 414 / ElectraMac 416 Chain Saw Search: Tanked Wayde King Illness. About Illness Tanked King Wayde . He is an entrepreneur and co-owner of Acrylic Tank Manufacturing (ATM), the biggest aquarium tank shop based in Las Vegas. Browse Fixya by Brand for Questions, Answers, and Product Troubleshooting Issues. January 31, 2014 - Replace damaged or crimped fuel line s with the manufacturer-approved chainsaw part, following the instructions in this DIY chainsaw repair guide. Follow the steps in this repair guide to replace fuel line s in common Craftsman, Husqvarna, McCulloch, MTD, Poulan and Troybilt chainsaw s.
Mcculloch 3200 chainsaw parts diagram. Mcculloch Mac 3200 Chainsaw Owners Manual - Best Products is your destination for all the latest product reviews and Mcculloch Mac 3200 Chainsaw Owners Manual that are at the right price, on-trend, consumer favorites, and timely. Mcculloch Mac 3200 Chainsaw Owners Manual - McCulloch Mac Cat 335 435 Chainsaw Service Parts List. If you are looking for any new ideas for your parts diagram then this mcculloch fuel line diagram photo must be on the top of guide or you might use it for an optional thought. Mac 3200 Chainsaw Manual. Pluming diagram for McCulloch Chainsaw? I Have a McCulloch chainsaw whose fuel line just rotted out. I have the new fuel line but need to ... !$ Stens # 025 507 Wheel Motor Parker for PARKER TF0240LS080AAFB SCAG 482639 SCAG 481529PARKER TF0240LS080AAFB SCAG 482639 SCAG 481529 Industrial & Scientific !$ Tanaka TCS40EA18 18 Inch 40cc 2 Stroke Gas Powered Rear Handle Chain Saw (CARB Compliant) Patio Lawn & Garden. This unit has 575 hours on it and is serviced and ready to go. Hipa Fuel Air Filter Gas Line Primer Bulb Spark Plug for McCulloch 2000 3200 3500 3516 Chainsaw. 4.4 out of 5 stars 255. $9.99 $ 9. 99. Get it as soon as Tue, Nov 30. FREE Shipping on orders over $25 shipped by Amazon. Only 8 left in stock - order soon. Mac 3200 chainsaw diagram. Echo 2 Stroke Power Blend X 5.2 Oz 2 Gallon Chainsaw Oil Mix 6 ...
MCCULLOCH CHAINSAW OWNERS MANUAL 2014 - File name: McCulloch832-839Mini-Mac-Cat.pdf - Download & Read Online Power Mac 310, 320, 330small Engine Discount. Mcculloch Mac 3200 Chainsaw Owners Manual We have enough money the best experience of Mcculloch Mac 3200 Chainsaw Owners Manual for home renovation and design, connecting homeowners and house professionals taking into account the best tools, resources and vendors. Eager Beaver 2.0 Parts Manual; Mcculloch Eager Beaver 2.0 Manual; Mcculloch Eager Beaver 2.0 Chainsaw; For MCCULLOCH Craftsman MAC 3214 3200 3516 3816 3818 chainsaw For ZAMA Carb Kit. 5 out of 5 stars (6) Total Ratings 6, $5.79 New. McCulloch 86189 carburetor mount gasket. 5 out of 5 stars (1) Total Ratings 1, $2.99 New. McCulloch 32cc 35cc 38cc MS1635AV 1838 Eager Beaver 2116 2318 Mac 3516 18 Maccat Promac 3205 3805 Silver Eagle 2116 18 Chainsaw Service Parts. McCulloch Mac 4-10XT Chainsaw Owners Manual. Posted in Chainsaw Manuals, Mac Chainsaw Manuals.
McCulloch Owner's Manuals, Operation Guides, and Specifications Preview. 3-Pack Replacement 18-Inch S60 Semi Chisel Chainsaw Chain for McCulloch, Mastercraft Compatible with McCulloch Mac 110, Mac 3200, Mac Cat 38cc (18 inch, 3/8' Pitch, 0.050' Gauge, 60 Drive Links) 5.0 out of 5 stars 1. Mcculloch Mac 438 Chainsaw Manual We give the best experience of Mcculloch Mac 438 Chainsaw Manual for house renovation and design, connecting homeowners and house professionals later the best tools, resources and vendors. Lawn and Garden readers have rated McCulloch Mac 110 120 Chainsaw Service Parts List 5.0 out of 5.0 based on 1 product reviews. Mcculloch Mac 3200 Chainsaw Owners Manual We have enough money the best experience of Mcculloch Mac 3200 Chainsaw Owners Manual for home renovation and design, connecting homeowners and house professionals taking into account the best tools, resources and vendors. Browse Fixya by Brand for Questions, Answers, and Product Troubleshooting Issues. January 31, 2014 - Replace damaged or crimped fuel line s with the manufacturer-approved chainsaw part, following the instructions in this DIY chainsaw repair guide. Follow the steps in this repair guide to replace fuel line s in common Craftsman, Husqvarna, McCulloch, MTD, Poulan and Troybilt chainsaw s.
Search: Tanked Wayde King Illness. About Illness Tanked King Wayde . He is an entrepreneur and co-owner of Acrylic Tank Manufacturing (ATM), the biggest aquarium tank shop based in Las Vegas.
View and download the user manual for your McCulloch product. 3200 Mac Chainsaw Manual Free Parting out a McCulloch Mac 3200 Chainsaw. All parts are being sold as good usable parts unless otherwise noted. Should fit models 3200, 3516, 3214 saws. - McCulloch ElectraMac 414 / ElectraMac 416 Chain Saw
0 Response to "39 mcculloch 3200 chainsaw parts diagram"
Post a Comment