39 2001 ford escape radiator hose diagram
My 2001 Ford escape keeps overheating. it has just over 200.000 mls. In last 2 weeks I have paid to have hoses, thermostat, engine coil and radiator overflow bottle replaced. However it is still overh … read more In this video, I'll be replacing the metal coolant and rubber hoses for the cooling system on a 2001 Ford Escape with the 2.0L engine. Enjoy!
Ford Escape Radiator Removal and Replacement 2.0 2.3 3.0 Engine Mercury Mariner Our Website for Tools, Parts and more Videos: http://mechaniclifestyle.comI...

2001 ford escape radiator hose diagram
Description: 3.5L without turbo, 2013-19. 3.5L non turbo. Upper Radiator Coolant Hose. 3.7L. 3.5L without turbo 2010-12. More Info Ford Vehicles Diagrams, Schematics and Service Manuals - download for free! Including: 1957 ford thunderbird wiring diagram, 1960 ford falcon 6 cylinder wiring diagram, 1960 ford thunderbird v8, 1962 ford galaxie v8 wiring diagram, 1964 mustang master wiring locator diagram, 1965 ford thunderbird convertible tops control diagram, 1965 ford thunderbird window controls diagram, 1965 mustang ... Here's the issue. 2001 V6 Escape broke down on the road. The water pump belt broke and the upper radiator hose inlet pipe snapped off. Took out Radiator, took it to a shop and had it fixed. Changed out water pump, as I suspected that was the culprit. Once I got it off I found it was definitely broken. Replaced the thermostat.
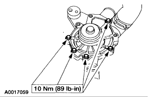
2001 ford escape radiator hose diagram. 2001-2005 Ford Escape and Mercury Mariner - 2.0L, 2.3L and 3.0L This diagram is for the 2001-2005 Ford Escape. It shows the 2.0L, 2.3L and 3.0L engine diagrams. All three engine sizes have the diagrams for engines with or without AC. The video above shows to fix minor leaks in the coolant hoses in your 2004 Ford Escape. The hoses carry engine coolant (which is also known as antifreeze or anti-freeze) through your engine and will eventually wear out. You can avoid getting stranded by identifying signs of extreme wear before they break and fixing minor leaks promptly. Water Pump-3.0L (4V) Removal and Installation. Drain the engine cooling system. Remove the air cleaner outlet tube. Remove the water pump belt tensioner, if equipped. Disconnect the three hoses. Remove the bolts and the water pump assembly. Separate the water pump from the water pump housing. Mazda Tribute & Ford Escape Upper Overflow Tank to Radiator Hose 2001 To 2004 (Fits: 2002 Ford Escape) $36.95 180Pcs Φ5-Φ24 Double Wire Hose Clips Stainless Steel Fuel Pipe Tube Clamps Kit (Fits: 2002 Ford Escape)
OE quality parts from top original equipment and aftermarket manufacturers The finest quality at a great price. $109.00 - $240.43. CSF® Engine Coolant Radiator. 0. # 1095820310. Ford Escape 2001, Engine Coolant Radiator by CSF®. Increase the life of your vehicle's engine by keeping your cooling system in top condition. I cannot seem to find any good video or diagram online for the exact year and model of my vehicle. Can someone please help clear up this confusion for me? ... 2001 FORD ESCAPE; ... 2004 Ford Escape Hose Replacement With Radiator Flush. 2001 Ford Focus Radiator Hose Diagram - Hanenhuusholli. Ford Escape Reservoir. TANK. RADIATOR. Coolant ... Ford Focus MK3 FL - fuse box diagram (USA version) - Auto ... Sparky's Answers - 2003 Ford Focus, Runs Hot, Cooling Fans ... diagram - 18. Ford focus cooling fan always on. Shop Ford Escape Replacement Radiator Hose. A small SUV, the Ford Escape affords owners a comfortable vehicle that is enjoyable to drive. The Radiator Hose is the pathway between the engine and the radiator and is critical for fluids to pass between the two. Any cracks or tears will cause coolant to leak and this can lead to even more problems.
Ford Truck Diagrams and Schematics. Alternator Voltage Regulator Instrument Panel Starter and Drive Distributor Where does the lower radiator hose run and attach to engine on 2001 ford escape ... You didn't say which engine you have, so I've included the diagrams of ...1 answer · Top answer: to the inlet hose of the water pump or to housings in the side of the block The Ford Parts online purchasing website ("this website"or "FordParts.com" ) is brought to you by Ford Motor Company ("FORD") together with the Ford or Lincoln Mercury Dealership that you select as your preferred dealer ("dealer"). FORD is not the seller of the parts offered for sale on this website. In this video ill be replacing the metal coolant and rubber hoses for the cooling system on a 2001 ford escape with the 20l engine. 2002 ford escape coolant hose diagram. 03 escape radiator hose diagram wiring diagram sys ford escape 2003 radiator coolant flush how 2019 03 28 03 escape radiator hose diagram.
The ratings and reviews for these Ford Coolant Expansion Tank Hose aftermarket parts really help you make the right decision. Whether you're a do-it-yourselfer or trained auto tech, you'll appreciate the convenience of home or business delivery, or picking up your Coolant Expansion Tank Hose product at the nearest Advance Auto Parts location .
<2001 Saved Vehicles. FORD: 2002: ESCAPE: 3.0L V6: Cooling System: Bypass Hose: Bypass Pipe: Coolant / Antifreeze: Coolant Hose Connector / Flange: Coolant Reservoir: Coolant Reservoir Cap: Coolant Reservoir Hose: Cooling Fan Control Module ... Radiator Fan Assembly: Radiator Fan Motor: Radiator Hose: Temperature Sender / Sensor: Temperature ...
The o2 sensor for your ford taurus is located in your exhaust pipe. 2001 ford taurus o2 sensor diagram. O2 sensor the engine control module ecm has detected a lean system which means that there is either not enough fuel or and excessive amount of air in the system. I have a check engine light that lights up my 1999 taurus 30 vulcan and my obdii ...
Equip cars, trucks & SUVs with 2001 Ford Escape Radiator and Heater Hoses from AutoZone. Get Yours Today! We have the best products at the right price.
2003 ford ranger heater hose diagram. Buy a 2003 ford ranger heater hose at discount prices. 2003 ford ranger radiator hose diagram thank you for visiting our site this is images about 2003 ford ranger radiator hose diagram posted by maria rodriquez in 2003 category on feb 11 2019. This is a quick fix as oppose to buying the stock part from ford.
PrevNext. how to replace f150 heater hoses heater hoses on the ford f150 carry engine coolant to and from the heater core for use in providing heat to the passenger cabin over time these hoses. Ford F 150 Cooling System Diagram Awesome 2000 F 150 4 2 V6 Hose Help ford. 1998 ford f 150 engine diagram vacuum hose ford f150 heater hose diagram ...
Hello, I have a 2001 Ford escape. I recently changed the radiator due to a leak. After changing the radiator, it fixed the leak, but new issue came up right after. At low speeds the car jerks quite a … read more
Engine Coolant Molded Radiator Hose by Motorcraft®. With today's complicated automotive engines, it is crucial to have the right cooling system components for accurate temperature control, pressure relief, and gasket seals.... Direct OEM replacement Meets strict Ford Motor Company standards. $19.91 - $157.67.
12 Answers. Re: How to install a thermostat in a 2001 ford escape. Ok lol there are two large hoses coming in, and out of the radiator the large hose on the top connects to the enging this is the one that has the thermostat it should have only 2 bolts remove them and replace the thermostat however why is it that you believe you need a new ...
Get the best deals on Cooling System Hoses & Clamps for Ford Escape for 2001 when you shop the largest online selection at eBay.com.Material: Stainless Steel · EPDM · Silicone · Ru...
Thermostat. Focus. Ranger. 2.3l. Ranger. 2.5l. Tempo, Topaz. 2.3l. 2.0L, sohc engine. Escort, Tracer. 1.9l. Escort, Tracer. 2.0l. Capri, Mustang. 2.3l.
2001 Ford Focus Radiator Hose Diagram PDF Download. After im reading this 2001 Ford Focus Radiator Hose Diagram PDF Download it is very interesting. especially if read this 2001 Ford Focus Radiator Hose Diagram ePub when we are relaxing after a day of activities. I recommend reading this 2001 Ford Focus Radiator Hose Diagram Kindle because this book contains many positive messages for us.
One diagram is the main one and the only one listed under vacuum diagrams for the 30. The issue 2001 ford escape fuel injection. I need help with vacuum hoses on my 2001 ford escape. When we review 2001 ford escape 30 vacuum hose diagram then we will certainly consider 2001 ford escape 3 0 vacuum hose diagram and also several points.
Get the best deals for an aftermarket 2001 Ford Escape Radiator replacement. Fast shipping with low price guarantee. Order online today!
The video above shows to check the coolant hoses in your 2003 Ford Escape. The coolant hoses (radiator hoses) carry engine coolant through your engine and will eventually wear out. You can avoid getting stranded by identifying signs of extreme wear before they break.
Here's the issue. 2001 V6 Escape broke down on the road. The water pump belt broke and the upper radiator hose inlet pipe snapped off. Took out Radiator, took it to a shop and had it fixed. Changed out water pump, as I suspected that was the culprit. Once I got it off I found it was definitely broken. Replaced the thermostat.
Ford Vehicles Diagrams, Schematics and Service Manuals - download for free! Including: 1957 ford thunderbird wiring diagram, 1960 ford falcon 6 cylinder wiring diagram, 1960 ford thunderbird v8, 1962 ford galaxie v8 wiring diagram, 1964 mustang master wiring locator diagram, 1965 ford thunderbird convertible tops control diagram, 1965 ford thunderbird window controls diagram, 1965 mustang ...
Description: 3.5L without turbo, 2013-19. 3.5L non turbo. Upper Radiator Coolant Hose. 3.7L. 3.5L without turbo 2010-12. More Info
0 Response to "39 2001 ford escape radiator hose diagram"
Post a Comment